ZJHP气动薄膜单座调节阀
- 销售:021-32051999
- 销售:021-32050777
- 传真:021-66099555
详情介绍
- 产品介绍
- 服务承诺
- 订货流程
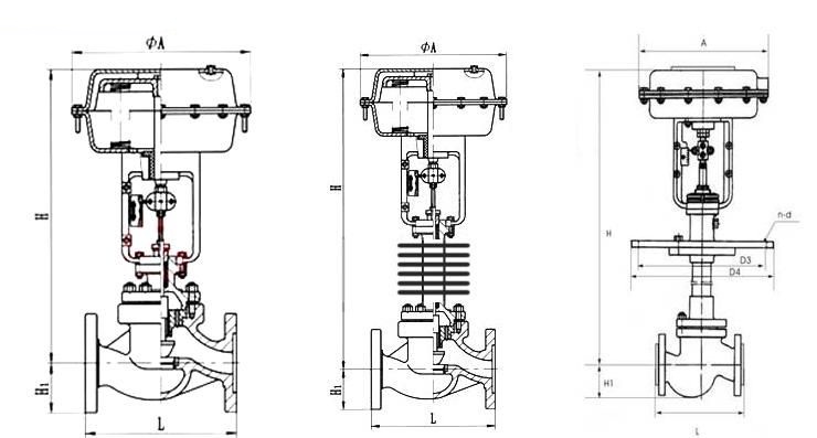
ZJHP气动薄膜单座调节阀由气动多弹簧薄膜执行机构和低流阻单座阀组成,新型执行机构高度低、重量轻、装备简便,新型阀体结构紧凑、流道通畅,具有大的流量系数。ZJHP精小型气动单座调节阀操作稳定,具有可靠的动作特性,微小的阀座泄漏的流量特性、宽大的可调范围等特点。它必将以Du特的优点在广泛应用中取得质量高的控制效果。产品有标准型、调节切断型、波纹管密封型、夹套保温型等多种品种。适用液体温度由-200℃到+560℃范围内多种档次。
气动单座调节阀 主要零件材料
零件名称 | 材料 | 温度范围 |
阀体上阀盖 | HT200 | -20~200℃ |
ZG230-450 | -40~450℃ | |
ZG1Cr18Ni9Ti | -250~550℃ | |
ZG0Cr18Ni12Mo2Ti | -250~550℃ | |
阀芯、阀座 | 1Cr18Ni9 | -250~550℃ |
0Cr18Ni12Mo2Ti | -250~550℃ | |
填 料 | 聚四氟乙烯 | -40~200℃ |
膜 片 | 丁晴橡胶夹增强涤沦织物 | |
压缩弹簧 | 60Si2Mn | |
膜 盖 | A3 |
气动单座调节阀 主要技术参数
公称通径mm | 20 | 25 | 40 | 50 | 65 | 80 | 100 | 150 | 200 | 250 | 300 | 350 | 400-500 | |||||||
阀座直径mm | 10 | 12 | 15 | 20 | 25 | 32 | 40 | 50 | 65 | 80 | 100 | 125 | 150 | 200 | 250 | 300 | 可与兰博公司 | |||
额定流量 | 直线 | 1.8 | 2.8 | 4.4 | 6.9 | 11 | 17.6 | 27.5 | 44 | 69 | 110 | 176 | 275 | 440 | 690 | 1000 | 1600 | |||
等百分比 | 1.6 | 2.5 | 4 | 6.3 | 10 | 16 | 25 | 40 | 63 | 100 | 160 | 250 | 400 | 630 | 900 | 1440 | ||||
公称压力MPa | 0.6 1.6 4.0 6.4 | |||||||||||||||||||
行程mm | 10 | 16 | 25 | 40 | 60 | 100 | ||||||||||||||
流量特性 | 直线、等百分比、快开型 | |||||||||||||||||||
介质温度℃ | -40~230℃(常温型),散热片式230~450℃(中温型),特殊订货-100~600℃ | |||||||||||||||||||
法兰标准 | 符合JB78-59、JB79-59标准,可按JB/79.1-94、JB/79.2-94、ANSI、JIS、DIN 等标准订货生产 | |||||||||||||||||||
阀体材质 | PN | 0.6,1.6 | WCB(ZG230-450) CF3CF8 CF8M | |||||||||||||||||
4.0,6.4 | WCB(ZG230-450)、ZG1Cr18Ni9Ti、ZG0Cr18Ni12Mo2Ti CF8 CF8M | |||||||||||||||||||
阀体型式 | 直通单座铸造球型阀 | |||||||||||||||||||
阀芯材质 | 1Cr18Ni9、0Cr18Ni12Mo2Ti CF8 CF8M | |||||||||||||||||||
上阀盖形式 | 普通式(常温型)、热片式(中温型)、低温型 | |||||||||||||||||||
可调比R | 50:1 | |||||||||||||||||||
气源接头 | M16×1.5 | |||||||||||||||||||
注:可为用户提供ANSI、JIS法兰的产品,结构长度也可按用户需要确定。
气动单座调节阀 执行机构
型号 | ZHA-22 | ZHA-23 | ZHB-34 | ZHA-45 | ZHA-56 |
you效面积cm2 | 350 | 350 | 560 | 900 | 1600 |
行程mm | 16 | 25 | 40 | 60 | 100 |
弹簧范围KPa | 20~100(标准):40~200; | ||||
气动单座调节阀 性能指标
项目 | 指标值 | 项目 | 指标值 | ||||
基本误差% | 不带定位器 | ±5.0 | 始 | 气关 | 不带定位器 | 始点 | ±5.0 |
带定位器 | ±1.0 | 终点 | ±2.5 | ||||
回差% | 不带定位器 | ≤3.0 | 带定位器 | 始点 | ±1.0 | ||
终点 | ±1.0 | ||||||
带定位器 | ≤1.0 | 气开 | 不带定位器 | 始点 | ±2.5 | ||
终点 | ±5.0 | ||||||
死区% | 不带定位器 | ≤3.0 | 带定位器 | 始点 | ±1.0 | ||
终点 | ±1.0 | ||||||
带定位器 | ≤0.4 | 允许泄漏量L/h | 1×10-4×阀额定容量 | ||||
额定行程偏差% | ±2.5 | ||||||
气动单座调节阀 允许压差
开关方式 | 执行机构型号 | 弹簧范围KPa | 气源压力KPa | 需要附件 | 公称通径(阀座直径)mm | |||||||||||||||
25 | 25 | 40 | 50 | 65 | 80 | 100 | 150 | 200 | 250 | 300 | ||||||||||
(10) | (12) | (15) | (20) | (32) | (40) | (125) | (150) | |||||||||||||
气 关 | ZHA | 20~100 | 140 | P | 6.4 | 5.94 | 3.34 | 3.34 | 2.14 | |||||||||||
ZHA | 20~100 | 140 | P | 1.31 | 0.84 | 0.53 | ||||||||||||||
ZHA | 20~100 | 140 | P | 0.51 | 0.33 | 0.21 | ||||||||||||||
ZHA | 20~100 | 140 | P | 0.22 | 0.15 | 0.08 | ||||||||||||||
ZHA | 20~100 | 140 | P | 0.06 | 0.04 | |||||||||||||||
气 开 | ZHB | 20~100 | 140 | P | 4.46 | 3.09 | 1.98 | 1.11 | 0.71 | |||||||||||
ZHB | 20~100 | 140 | P | 0.44 | 0.28 | 0.18 | ||||||||||||||
ZHB | 20~100 | 140 | P | 0.17 | 0.11 | 0.07 | ||||||||||||||
ZHB | 20~100 | 140 | P | 0.07 | 0.05 | 0.028 | ||||||||||||||
ZHA | 20~100 | 140 | P | 0.03 | 0.02 | |||||||||||||||
注:1)P-阀门定位器;R-压力继动器;
2)允许压差为阀关闭P2=0状态下,P的大值;
3)如果允许压差不清楚或大工作压差超出列表范围请与凯时网站联系。

气动单座调节阀 主要外形尺寸
DN | L | H | H1 | 质量(kg) | φA | |||||||
PN16 | PN40 | PN64 | 普通 | 高温 | PN6 | PN16 | PN40 | PN64 | PN6 | PN40 | ||
20 | 181 | 194 | 206 | 398 | 548 | 45 | 52 | 65 | 19 | 23 | 285 | |
25 | 185 | 197 | 210 | 410 | 560 | 50 | 57 | 70 | 20 | 24 | ||
40 | 222 | 235 | 251 | 455 | 620 | 65 | 75 | 85 | 26 | 35 | ||
50 | 254 | 267 | 286 | 457 | 627 | 70 | 82 | 90 | 30 | 40 | ||
65 | 276 | 292 | 311 | 610 | 790 | 80 | 92 | 100 | 47 | 66 | 360 | |
80 | 298 | 317 | 337 | 622 | 807 | 95 | 100 | 107 | 55 | 78 | ||
100 | 352 | 368 | 394 | 640 | 850 | 105 | 110 | 117 | 125 | 65 | 99 | |
150 | 451 | 473 | 508 | 870 | 1130 | 132 | 142 | 150 | 172 | 130 | 160 | 470 |
200 | 600 | 650 | 890 | 1150 | 160 | 170 | 187 | 207 | 175 | 250 | ||
250 | 730 | 775 | 1203 | 1523 | 187 | 202 | 225 | 235 | 350 | 470 | 580 | |
300 | 850 | 900 | 1234 | 1554 | 220 | 230 | 257 | 265 | 500 | 660 | ||
良好的品质、优良的服务 凯时网站为你创造更多价值!
“凯时网站阀门”的期望,不断提升服务质量,精益求精,“真诚的服务”是“凯时网站”永恒的主题。“凯时网站”严格按照IS09001-2000 质量体系认证要求,质量严格把关, 责任到人,确保生产、销售、服务的健康运行。加强与用户沟通,竭诚为广大客户提供优良产品,贴心服务。特此我厂做出以下承诺:
产品标准:
产品严格按照中国GB、HG 标准和美国API等标准设计、制造、验收。密封面硬度达到国家规定要求,宽度超过国家标准。
售前服务:
产品介绍,技术交流,非标产品设计,疑难解答。
售中服务:
守信合同,及时供货,随时保持与客户联系。 对特殊或复制的产品,我厂安排技术人员对用户进行产品使用、故障排除
售后服务:
1、“凯时网站”牌产品品质期为自出厂起12个月,实行“三包”服务(包退、包换、保修)。
2、产品在使用中我厂定期组织技术、质检人员进行访问,征询用户对产品质量、 使用状况、改进意见等方面的反馈, 以便进一步提高产品质量。
3、对用户投诉质量问题,快速作出反应,售后服务人员在24-36小时(省外48小时)赶赴现场。
4、对售后服务,要求用户填写服务后的质量反馈信息表,并作出鉴定意见,以便提高凯时网站的服务质量。
1、客户如对产品有特殊要求,须在订货合同中提供以下说明:
a、结构长度;
b、连接形式;
c、公称直径、全通径、缩径、管道尺寸;
d、运行介质及温度、压力范围;
e、试验、检验标准及其他要求
2、本厂可根据客户特定要求配置各类驱动装置。
3、如由客户提供确定的阀门类型和型号时,客户应正确说明其型号的含义和要求,在供需双方理解一致的条件下签订合同。
4、期货、订货的客户请先来电函详细告诉所需的阀门型号、规格、数量以及交货时间、地点,并按总的30%预定金或全额货款及时汇入我厂帐户,其余货款待发货前汇入,以便及时安排发货。
订单流程:
1、客户采购清单传真至021-33872143,或来电咨询 021-33872141
2、收到客户采购清单,为客户提供阀门型号选型与报价(价格清单)。
3、具体商定:交货期、特殊要求等事宜。
订货须知:
1、客户如对产品有特殊要求,须在订货合同中提供以下说明:
|
|||||
|
|||||
2、本厂可根据客户特定要求配置各类驱动装置。
|
|||||
3、如由客户提供确定的阀门类型和型号时,客户应正确说明其型号的含义和要求,在供需双方理解一致的条件下签订合同。
|
|||||
4、期货、订货的客户请先来电函详细告诉所需的阀门型号、规格、数量以及交货时间、地点,并按总的30%预定金或全额货款及时汇入我厂账户, 其余货款待发货前汇入,以便及时安排发货。
|
售中服务:
守信合同,及时供货,随时保持与客户联系。
对特殊或复制的产品,我厂安排技术人员对用户进行产品使用、故障排除
售后服务:
1、“凯时网站”产品品质期为自出厂起12个月,实行“三包”服务(包退、包换、保修)。
2、产品在使用中我厂定期组织技术、质检人员进行访问,征询用户对产品质量、使用状况、改进意见等方面的反馈,
以便进一步提高产品质量。
3、对用户投诉质量问题,快速作出反应,售后服务人员在24-36小时(省外48小时)赶赴现场。
4、对售后服务,要求用户填写服务后的质量反馈信息表,并作出鉴定意见,以便提高“凯时网站”的服务质量。
声明 |
|